当前位置:网站首页>How to resolve a domain name to multiple IP addresses?
How to resolve a domain name to multiple IP addresses?
2022-07-25 22:11:00 【China Kuwait tripartite】
as everyone knows , A domain name can be resolved to a IP Address , Then a domain name can be resolved to multiple IP The address? ?
Certainly. !
How to put a Domain name resolution To more than one IP Address ?
When adding A Type or AAAA Type resolution record , Parameters “ value ” Multiple entries are supported IP Address , Resolve the domain name to multiple IP Address .
When parsing records “ value ” Contains multiple IP Address time , Domain name resolution will return all IP Address , But return IP The order of addresses is random , The browser defaults to the first returned IP Address as the result of parsing .
The parsing process is as follows :
1. Website visitors send messages to Local DNS Send resolution request .
2.Local DNS Forward the parsing request level by level to authority DNS.
3. authority DNS After receiving the parsing request , Will all IP The addresses are all returned in random order Local DNS.
4.Local DNS Will all IP Address back to browser .
5. Website visitors' browsers randomly visit one of them IP Address , Usually select the first one returned IP Address .
6. According to a large number of test data , Resolve to each IP The proportion of addresses is nearly equal .
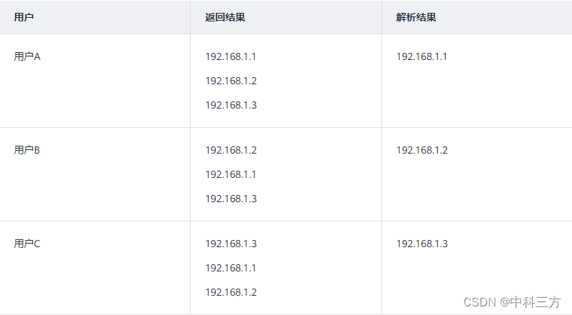
for example , The domain name of a website is “example.com”, Deployed 3 Servers , Corresponding IP The addresses are :192.168.1.1、192.168.1.2、192.168.1.3.
Is the domain name “example.com” Configure a A Type Recordset , Set the recordset value to 3 individual IP Address .
chart 1 Recordset list ( Multiple IP)
When different users visit the website , The returned parsing results are shown in table 1 Shown .
surface 1 Analysis result example 
About China and Kuwait
The above is how to resolve a domain name to multiple IP The whole process of address , Domain name resolution is crucial to the normal access of the website , So choose a professional parsing service platform . The three parties of China and science as the holding company of the Chinese Academy of Sciences ( abbreviation “ Guoke holding ” or “ Chinese Academy of Sciences holding ”) Its domain name management brand , Focus on domain name security for more than 20 years , Provide professional Intelligent Cloud resolution , Faster parsing 、 More stable , Effectively improve the security protection ability of domain name resolution . Over the years, with professional technology and experience , For many provincial and municipal government departments 、 Central enterprises 、 Finance 、 Key industries such as scientific research and key customers provide domain name resolution 、 Domain name registration and other domain name management services .
边栏推荐
- Preliminary study on Tesseract OCR
- 自动化测试岗花20K招人,到最后居然没一个合适的,招两个应届生都比他们强吧
- The reisson distributed lock renewal failed due to network reasons, resulting in the automatic release of the lock when the business is still executing but the lock is not renewed.
- Why does redis choose single thread?
- [51nod1676 undirected graph isomorphism] undirected graph hash [easy to understand]
- 手机端微信发朋友圈功能测试点总结
- 如何将一个域名解析到多个IP地址?
- 虚拟内存与磁盘
- MySQL --- 子查询 - 列子查询(多行子查询)
- 字节跳动技术面都过了,结果还是被刷了,问HR原因竟是。。。
猜你喜欢
随机推荐
8000 word super detailed custom structure type
redis主从架构锁失效问题(主从)
4day
Sofa weekly | open source person - Niu Xuewei, QA this week, contributor this week
What is class loading? Class loading process?
ansible+Crontab批部署巡检
H5幸运刮刮乐抽奖 免公众号+直运营
How many bytes does Boolean occupy?
C language: random generated number + selective sorting
C语言左值和右值说明[通俗易懂]
The automation testing post spent 20K recruiting, but in the end, there was no suitable one. Both fresh students are better than them
Whether the five distribution methods will produce internal fragments and external fragments
信息安全建设原则指导
mysql: error while loading shared libraries: libncurses.so.5: cannot open shared object file: No suc
在腾讯干软件测试3年,7月无情被辞,想给划水的兄弟提个醒...
Why is the integer type 128 to byte -128
卸载npm和安装npm_使用`npm uninstall`卸载npm软件包「建议收藏」
Ansible+cronab batch deployment patrol
[fan Tan] after the arrival of Web3.0, where should testers go? (ten predictions and suggestions)
The technical aspects of ByteDance are all over, but the result is still brushed. Ask HR why...








