当前位置:网站首页>详细图解b树及C语言实现
详细图解b树及C语言实现
2022-07-26 19:59:00 【摆烂的神】
目录
前言
对于大量的数据而言,链表的线性访问时间太慢,不宜使用。本章节将会介绍一种简单的数据结构:树(tree),其大部分操作的运行时间平均为O(logN)。在数据结构中树是非常有用的抽象概念,在本篇中我们将讨论一棵高阶搜索树——b树。前排提示:高阶搜索树的代码难度高出一个量级,建议先把逻辑理顺后再去看代码哦。
一、什么是B-tree
虽然迄今为止我们所看到的查找树都是二叉树,但是还有一种常用的查找树不是二叉结构的,这种树叫做B树(B-tree)。
那么问题来了,既然已经有了诸如AVL树的查找树,为什么还要存在B树呢?因为平衡树的数据放在内存当中,但在实际的项目中,数据量特别的大,要放在磁盘中,而面临大量数据时二叉树的高度大意味着与磁盘交互次数多,而每一次磁盘的I/O都是机械运动,读取速度相对于内存来说是很慢的,为了降低树的高度、减少磁盘I/O,B树就此诞生。
B树具有下列特性:
- 是一棵多路平衡树,一个节点有多个数据,通常要求空间大小和磁盘块的大小一致;
- 在逻辑上,所有的叶子都在同一层且不带信息;
- 对于节点规定了上界和下界,最常见的每个节点(根节点除外)包含【t-1,2t-1】个关键字(其中t是最小的度,t>=2),不是硬性规定,根据实际中的磁盘块来决定;
- 如果一个节点有x个关键字,就有x+1个孩子;
- 每一个节点的关键字按照升序排序,x和y之间孩子的范围就是(x, y)。
为了使大家在概念上更方便理解,正如先前在二叉排序树中做的那样,我们使实际的数据存储在叶子上,也可以存储在内部节点中。实际上B树有多种定义,这些定义在一些次要的细节上不同于我们定义的结构。如下所示就是一棵B树:

这里还要提一个概念,图中的B树是4阶B树的一个例子,它的更流行的称呼是2-3-4树,而3阶B树称作2-3树;我们将通过这棵2-3-4树来描述B树增删查改。
二、查找
B树的查找和二叉排序树的查找过程十分相似,唯一不同的是:二叉排序树的任意一个节点最多只能有两个孩子,而B树则最多可以有M+1个孩子(M为节点中关键字个数),但这并不影响我们用与二叉排序树相同的查找方法,只需要多一步在节点中的遍历(可以是顺序也可以是二分,方便就行),我在代码中对返回的结果做了封装,这样过程会更加规范,当然效果是一样的。
/*查找返回节点下标的函数 从1到keynum找key*/
int search(BTree p, KeyType key)
{
int i = 1;
while (i <= p->keynum && key > p->key[i])
{
i++;
}
return i;
}
/*返回封装的结果集的查找函数 不是真正进行查找步骤*/
void searchNode(BTree tree, KeyType key, Result& r)
{
int i;
int found = 0;//标记查找成功或者失败 成功是1 失败是0
//先定义指针指向根节点
BTree p = tree;
BTree q = NULL;//有时候需要指向双亲节点的指针
while (p != NULL)
{
i = search(p, key);
if (i <= p->keynum && key == p->key[i])
{
//不允许重复所以找到就是查找失败 说明这个数据已经存进去了
found = 1;
}
else
{
q = p;
p = p->ptr[i - 1];//指针下移
}
}
//如果查找到了
if (found == 1)
{
r.pt = p;
r.i = i;
r.tag = found;
}
//没有查找到
else
{
//没有找到就把父节点传回去 利于后续操作
r.pt = q;
r.i = i;
r.tag = found;
}
}
三、插入
B树的插入规则与二叉排序树的插入类似,即一个节点中的关键字总是有序的,并且总是要插入到实际的叶子节点;不同的是,为了满足B树的高度可控这一特性,需要时刻判断是否超过了规定的存储最大容量,如果达到容量上限就要进行分裂(split);

有如上一棵2-3树,当我们试图插入新关键字K时,发现K所属的节点已经满了,插入K将使得这个节点拥有四个关键字,这是不允许的,这时我们就要分裂,从中间对半分,得到两个新的节点;

但此时我们又发现,分裂出的新节点的父节点现在有了四个孩子,而它只有两个关键字,最多只能有三个孩子,这样又带来了一个新的问题,当然解决的办法也很简单,我们可以把中间值上移,是父节点的关键变成三个,这样父节点最大就能有四个孩子了。

分裂是维持B树性质的重要操作之一,一定要把逻辑理清楚!接下来我们对上文中的2-3-4树再过一遍完整的插入流程:

第一步:判断根节点是否初始化,如果没有,初始化root为根节点;
第二步:当我们插入节点i,与根节点p比较,小于就往左边插入;
第三步:发现p的左孩子节点已经满了,需要分裂;
第四步:继续比较,比L小,插L的左子树;
第五步:判断L的左子树是否满了,满了就分裂,没满就挨个比较找到正确的插入位置插入,结束。


我们会发现在执行分裂操作时,永远都是从中间对半分、把中间值往上递,且这个步骤在插入的过程中会一直检测并进行,不需要像AVL树一般有一个回溯的过程,像这种平衡的机制我们称作自平衡,也可见B树是不存在不平衡的机会的;
而要简单的实现自平衡的过程,我们就需要在以往的树的结构的代码上做点修改,定义一个指针指向节点的父亲。
树的结构体定义和一些宏;
#define NOT_INIT 0//没有初始化的标志
#define HAVE_BEEN_INIT 1//初始化了的标志
#define TRUE 1
#define FALSE 0
#define m 3//B树的阶
typedef struct BTreeNode{
KeyType key[m + 1];//关键字数组 0号元素不用 m是最大元素个数
struct BTreeNode* ptr[m + 1];//从0开始指向子树的指针
struct BTreeNode* parent;//指向父级的指针
int keynum;//当前节点中关键字的个数 也就是节点的大小
}BTnode, *BTree;//B树节点的类型和根节点(树)的类型代码实现(建议先把逻辑理顺后再看)
代码实现在逻辑的基础上还需要考虑各种可能的复杂情况,根据上文的举例,这里总结出执行插入的大致框架(画的不是很好,但是大概意思就是这样):

为方便大家理解代码,这里代码的顺序是按照流程图上的顺序来的,实际上应该把顺序反过来或者在前面声明。
/*初始化一棵树*/
void initBTreeOperation(BTree& tree)
{
if (status == HAVE_BEEN_INIT)
{
//已经初始化过了
printf("已经初始化过了\n");
}
else
{
tree = NULL;
status = HAVE_BEEN_INIT;
}
}
/*在B树中插入一个值 */
void insertKeyOperation(BTree& tree, KeyType key)
{
Result r;//封装结果集
if (status == NOT_INIT)
{
//树没有初始化
printf("请先初始化\n");
return;
}
if (tree == NULL)
{
//此时树是空树
printf("树是空树\n");
}
//如果是索引 不允许重复的情况
//查找有没有相同的值
searchNode(tree, key, r);
if (r.tag == 1)
{
//关键字已经存在
printf("关键字已经存在\n");
}
else
{
//执行插入操作
insertBTree(tree, key, r.pt, r.i);
}
}
/*
在B树tree中q节点相关的位置 i - 1 ~ keynum 之间插入关键字
*/
void insertBTree(BTree& tree, KeyType key, BTree q, int i)//q和i是封装好的节点和下标
{
BTree temp;
int finished = FALSE;//表示循环完结状态的变量
int isNeed_NewNode = FALSE;//表示是否需要创建一个新的节点
//此时父节点是空的
if (q == NULL)
{
//代表这个树连根都没有
//创建一个新的节点
newRoot(tree, NULL, NULL, key);
}
else
{
//整体的插入
temp = NULL;
//插入从上往下插入 不需要递归 只需要循环 没有回溯
//finished标志的变化只存在于现有的节点数量里插入
//如果需要新的节点插入没有结束 需要判断是否需要创建一个新的节点
while(finished == FALSE && isNeed_NewNode == FALSE)
{
//肯定是先插入 将关键字和temp 插入q的q->key[i]和q->ptr[i]
insert(q, i, key, temp);
//插入完以后判断 如果q的关键字个数小于最大个数m 说明树的结构没有改变
if (q->keynum < m)
{
finished = TRUE;
}
//否则就要拆分
else
{
//先找中间位置
int s = (m + 1) / 2;
split(q, s, temp);
//还要向父级插入s的关键字
key = q->key[s];
if (q->parent != NULL)
{
//往双亲的位置插入s关键字
q = q->parent;
i = search(q, key);
}
else
{
//如果双亲节点为空 说明要新建一个节点
isNeed_NewNode = TRUE;
}
}
}
//如果需要创建一个新的节点
if (isNeed_NewNode == TRUE)
{
newRoot(tree, q, temp, key);
}
}
}
/*
将关键字和temp 插入q的q->key[i]和q->ptr[i]
q是插入的目标节点 i是位序 key是关键字 ap是新节点的指针
*/
void insert(BTree& q, int i, KeyType key, BTree ap)
{
for (int j = q->keynum; j >= i; j--)
{
//将数组后移
q->key[j + 1] = q->key[j];
q->ptr[j + 1] = q->ptr[j];
}
q->key[i] = key;
q->ptr[i] = ap;
if (ap != NULL)
{
ap->parent = q;
}
q->keynum++;
}
/*
分裂步骤
将q节点分裂成两个节点 前一半不动 后一半放进新节点ap中 s是中间位序
*/
void split(BTree& q, int s, BTree ap)
{
ap = (BTree)malloc(sizeof(BTnode));
ap->ptr[0] = q->ptr[s];
for (int i = s + 1, j = 1; i <= q->keynum; i++, j++)
{
ap->key[j] = q->key[i];
ap->ptr[j] = q->ptr[i];
}
ap->keynum = q->keynum - s;
ap->parent = q->parent;
//ap的孩子的父节点也要更新
for (int i = 0; i <= ap->keynum; i++)
{
if (ap->ptr[i] != NULL)
{
ap->ptr[i]->parent = ap;
}
}
q->keynum = s - 1;
}
/*生成新的根节点*/
void newRoot(BTree& tree, BTree p, BTree q, KeyType key)//pq是tree的左右孩子
{
tree = (BTree)malloc(sizeof(BTnode));
tree->keynum = 1;
tree->key[1] = key;
tree->ptr[0] = p;
tree->ptr[1] = q;
//别忘记处理孩子的父级指针
if (p != NULL)
{
p->parent = tree;
}
if (q != NULL)
{
q->parent = tree;
}
tree->parent = NULL;//别忘记根也有父级 只不过是NULL
}个人为如果把逻辑理顺了,再结合流程图去理解,插入和分裂的代码肯定是没问题了的,那么接下来是删除操作。
四、删除
对于B树的删除我们同样需要分成三种情况:
情况一:如果待删除数据data在节点x中,并且x是叶子节点,直接删除;
情况二:如果待删除的数据data在节点x中,并且是内部的节点,这时候又分为三种情况:
①如果data的前第一个孩子y至少有最小关键字个数+1个数据,找data的直接前驱p,删除data,并用p换掉data;

当我们要删除的数据是G时,发现G所在的节点是内部节点x,如果直接删除G,那么x的关键字个数与其孩子的个数就会矛盾,为了使操作尽可能的简单,我们发现G的左孩子y的关键字个数明显大于最小关键字个数+1个数据,这时用节点y的最后一个关键即G的直接前驱F替换G,既不会影响x节点的平衡,又不会影响y节点的平衡,还保证了关键字的有序性;
②如果y节点已经是最小元素个数了,找data的后第一个孩子z至少最小关键字个数+1个数据,找data的直接后继q,删除data,并用q换掉data;

情况②与情况①的意思是一样的,如果节点x的左孩子关键字个数小于最小关键字个数+1个数据,为了保持x与它孩子的性质不改变,这时判断x的右孩子z的关键字个数是否大于最小关键字个数+1个数据,如果大于就向节点z“借”,同样不会影响x节点的平衡,也不会影响z节点的平衡,还保证了关键字的有序性;
③如果前后都不够,就合并y和z;

假设完成某些操作后的树如上所示,此时再删除关键G,会发现它的左孩子关键字只剩下D,而它的右孩子关键字只剩下了K,左右孩子都不够借的,就把D所在的节点y和K所在的节点z合并,这一步和插入中的分裂操作正好相反,但是意义是一样的;
情况三:修正;
很明显情况一、二只能保证当前节点的平衡不被破坏,但是删除导致的后果可能是多个节点的平衡被破坏,这时候就需要再去对整棵树进行修正。
如果当待删除数据data不再是内部节点,那么它一定在子树c上,且此时c也只有最小关键字个元素时,也分为两种情况:
情况①:和内部节点一样,如果c的兄弟至少有最小关键字个数+1个数据,将x的某一数据下移,c兄弟的某一数据上移到父节点x;

当我们要删除数据B时,发现B所在的节点是实际中的叶子节点c,且删除B之后c的关键字个数已经小于最小关键字个数,这时c的兄弟的关键字个数大于最小关键字个数+1,就将父节点x的对应的关键字下移,将兄弟节点的第一个关键字上移(此时兄弟节点是右兄弟的情况),如此也不会破坏父节点、当前节点和兄弟节点的平衡;
因为是修正操作,所以不光要检测当前节点,还要检测当前节点的父节点、一直到根节点,持续向上地修正,从而保证整棵树的性质;
情况②:如果c和它的兄弟都只包含最少,就合并;

叶子的合并的操作和内部节点的合并是一样的,就不再过多描述了,最后也需要向上修正;
学到这里可能会点懵:什么又是内部节点又是叶子的、什么合并什么旋转啊...不要慌,这说明你在思考了。其实从整体来看B树的删除无非就是内部节点的删除和叶子节点的删除,它们之间的区别就在于当删除节点的兄弟有多的关键字时,旋转(借关键字)的步骤有些差异,而合并操作其实是一样的;并且只要理顺:插入和删除其实都是在实际的叶子中进行的,然后不断向上检测平衡性就行了。
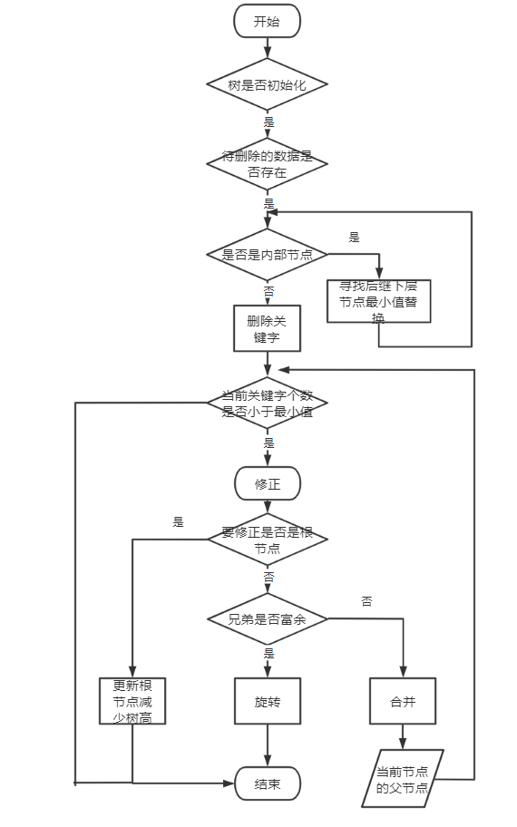
代码实现(建议先把逻辑理顺后再看)
当然在代码中我们需要考虑到的情况要更多更复杂,但是基本的逻辑是没有变的,这里同样大致总结了一下删除的整体流程(仅供参考,以逻辑为准):

为了和流程图对照上,这里还和插入一样更改了代码的顺序:
/*封装删除操作*/
void deleteKeyOperation(BTree& tree, KeyType key)
{
Result r;
if (status == NOT_INIT)
{
//树没有初始化 请先初始化
printf("请先初始化\n");
}
if (tree == NULL)
{
//此时树是空树
printf("树是空树\n");
}
else
{
searchNode(tree, key, r);
if (r.tag == 1)
{
//如果是1说明查找到了 可以删除 和 插入正好相反
//需要执行删除操作
deleteBTree(tree, r.pt, r.i);
}
else
{
//关键字不存在
printf("找不到该关键字\n");
}
}
}
/*
删除tree上p节点的第i个关键字
*/
void deleteBTree(BTree& tree, BTree& p, int i)
{
if (p->ptr[i] != NULL)//不是叶子节点 是内部节点时
{
//找到后继的下层内部节点的最小关键字来替换
successor(p, i);
//删除最下层的非叶子节点的最小关键字
deleteBTree(tree, p, 1);
}
else
{
//从节点p中删除key[i]
removeNode(p, i);
//判断是否需要调整Btree 看当前关键字是否小于最少关键字
if (p->keynum < (m - 1) / 2)//上界和下界都是人为定义的
{
restore(tree, p);
}
}
}
/*找到后继的下层内部节点的最小关键字来替换*/
void successor(BTree& p, int i)
{
BTree leaf = p;
if (p == NULL)
{
return;
}
leaf = leaf->ptr[i];//指向子树
while (leaf->ptr[0] != NULL)//只要还有孩子 就继续往下走
{
leaf = leaf->ptr[0];
}
p->key[i] = leaf->key[1];
p = leaf;
}
/*移除节点 从后往前覆盖*/
void removeNode(BTree& p, int i)
{
for (int j = i; j < p->keynum; j++)
{
p->key[j] = p->key[j + 1];
p->ptr[j] = p->ptr[j + 1];
}
p->keynum--;
}
/*调整树 p是要调整的节点*/
void restore(BTree& tree, BTree& p)
{
BTree parent, leftBrother, rightBrother;//p的父节点、和左右兄弟
parent = p->parent;
//如果父节点不为空的情况 就是不是根节点的情况
if (parent != NULL)
{
//寻找左右兄弟 向兄弟借值
//先要找到p节点在父节点的哪一个孩子
int i;
for (i = 0; i < parent->keynum; i++)
{
if (parent->ptr[i] == p)
{
break;
}
}
//如果p是最左边的孩子 就不需要找左边的兄弟了 右边同理
if (i > 0)
{
leftBrother = parent->ptr[i - 1];
}
else
{
leftBrother = NULL;
}
if (i < parent->keynum)
{
rightBrother = parent->ptr[i + 1];
}
else
{
rightBrother = NULL;
}
//如果左右兄弟有富余 就借
if ((leftBrother != NULL && leftBrother->keynum >= (m + 1) / 2) ||
(rightBrother != NULL && rightBrother->keynum >= (m + 1) / 2))
{
borrowFromBro(p, parent, leftBrother, rightBrother, i);
}
//如果左右兄弟都没有富余 就合并
else
{
if (leftBrother != NULL)
{
//和左兄弟合并
mergeWithLeftBro(tree, p, leftBrother, parent, i);
}
else if (rightBrother != NULL)
{
//和右兄弟合并
mergeWithRightBro(tree, p, rightBrother, parent, i);
}
//如果当左右子树不存在时
else
{
//改变根节点
for (int j = 0; j <= parent->keynum + 1; j++)
{
if (parent->ptr[j] != NULL)
{
tree = parent->ptr[j];
break;
}
tree->parent = NULL;
}
}
}
}
else
{
BTree temp;
//父节点为空的情况 p就是根节点
//去掉父节点 使树减一层
for (int j = 0; j <= p->keynum; j++)
{
if (p->ptr[j] != NULL)
{
temp = p;
p = p->ptr[j];
temp->ptr[j] = NULL;
free(temp);
break;
}
}
tree = p;
tree->parent = NULL;
}
}
/*向左兄弟或者右兄弟去借关键字*/
void borrowFromBro(BTree& p, BTree& parent, BTree& leftBrother, BTree& rightBrother,int i)
{
//向左兄弟借 左兄弟的值都小于p的值 所以要把p的值右移
if (leftBrother != NULL && leftBrother->keynum >= (m + 1) / 2)
{
for (int j = p->keynum + 1; j > 0; j--)
{
if (j > 1)
{
p->key[j] = p->key[j - 1];
}
p->ptr[j] = p->ptr[j - 1];
}
p->ptr[0] = leftBrother->ptr[leftBrother->keynum];
if (p->ptr[0 != NULL])
{
p->ptr[0]->parent = p;
}
leftBrother->ptr[leftBrother->keynum] = NULL;
//被删除节点p要存父节点的关键字
p->key[1] = parent->key[i];
//父节点的关键字变成左兄弟的最大
parent->key[i] = leftBrother->key[leftBrother->keynum];
//当前节点关键字加一 左兄弟节点关键字减一
leftBrother->keynum--;
p->keynum++;
}
else if (rightBrother != NULL && rightBrother->keynum >= (m + 1) / 2)
{
p->key[p->keynum + 1] = parent->key[i + 1];
//子树指针指向右兄弟最小的子树的指针
p->ptr[p->keynum + 1] = rightBrother->ptr[0];
if (p->ptr[p->keynum + 1] != NULL)
{
p->ptr[p->keynum + 1]->parent = p;
}
p->keynum++;
//父节点向右兄弟要关键字
parent->key[i + 1] = rightBrother->key[1];
//将右兄弟的关键字向左移
for (int j = 0; j <= rightBrother->keynum; j++)
{
if (j > 0)
{
rightBrother->key[j] = rightBrother->key[j + 1];
}
rightBrother->ptr[j] = rightBrother->ptr[j + 1];
}
rightBrother->ptr[rightBrother->keynum] = NULL;
rightBrother->keynum--;
}
}
/*和左兄弟合并*/
void mergeWithLeftBro(BTree& tree, BTree& p, BTree& leftBrother, BTree& parent, int i)
{
//先把父节点的第i个关键字拿下
leftBrother->key[leftBrother->keynum + 1] = parent->key[i];
leftBrother->ptr[leftBrother->keynum + 1] = p->ptr[0];
if (leftBrother->ptr[leftBrother->keynum + 1] != NULL)
{
leftBrother->ptr[leftBrother->keynum + 1]->parent = leftBrother;
}
leftBrother->keynum++;
//再把p中的关键字一个个赋给左兄弟
for (int j = 1; j <= p->keynum; j++)
{
leftBrother->key[leftBrother->keynum + j] = p->key[j];
leftBrother->ptr[leftBrother->keynum + j] = p->ptr[j];
if (leftBrother->ptr[leftBrother->keynum + j] != NULL)
{
leftBrother->ptr[leftBrother->keynum + j]->parent = leftBrother;
}
}
leftBrother->keynum += p->keynum;
parent->ptr[i] = NULL;
free(p);
//还要对父节点进行左移
for (int j = i; j <= parent->keynum; j++)
{
parent->key[j] = parent->key[j + 1];
parent->ptr[j] = parent->ptr[j + 1];
}
parent->ptr[parent->keynum] = NULL;
parent->keynum--;
//还要检查父节点是不是违反了规则
//如果父节点是根节点
if (tree == parent)
{
//当根节点没有关键字的时候 才进行调整
if (parent->keynum == 0)
{
for (int j = 0; j <= parent->keynum + 1; j++)
{
if (parent->ptr[j] != NULL)
{
tree = parent->ptr[j];
break;
}
tree->parent = NULL;
}
}
}
else
{
//如果不是根节点 就判断是否需要重新进行调整
if (parent->keynum < (m - 1) / 2)
{
restore(tree, parent);
}
}
}
/*和右兄弟合并*/
void mergeWithRightBro(BTree& tree, BTree& p, BTree& rightBrother, BTree& parent, int i)
{
//先要把右兄弟的关键字右移 为p的关键字和父节点的关键字空位
for (int j = rightBrother->keynum; j > 0; j--)
{
if (j > 0)
{
//为p的关键字和父节点的关键字空位
rightBrother->key[rightBrother->keynum + 1 + p->keynum] = rightBrother->key[j];
}
rightBrother->ptr[rightBrother->keynum + 1 + p->keynum] = rightBrother->ptr[j];
}
//把父节点的那一个关键字拿下
rightBrother->key[p->keynum + 1] = parent->key[i + 1];
//再把p中的关键字一个个赋给右兄弟
for (int j = 0; j <= p->keynum; j++)
{
if (j > 0)
{
//为p的关键字和父节点的关键字空位
rightBrother->key[j] = p->key[j];
}
rightBrother->ptr[j] = p->ptr[j];
if (rightBrother->ptr[j] != NULL)
{
rightBrother->ptr[j]->parent = rightBrother;
}
}
rightBrother->keynum += p->keynum + 1;
parent->ptr[i + 1] = NULL;
free(p);
for (int j = i + 1; j <= parent->keynum; j++)
{
parent->key[j] = parent->key[j + 1];
parent->ptr[j] = parent->ptr[j + 1];
}
//如果父节点在关键字减少之前只有一个节点 就需要把父节点的右孩子赋值给左孩子
if (parent->keynum == 1)
{
parent->ptr[0] = parent->ptr[1];
}
parent->ptr[parent->keynum] = NULL;
parent->keynum--;
//还要对父节点进行左移
for (int j = i; j <= parent->keynum; j++)
{
parent->key[j] = parent->key[j + 1];
parent->ptr[j] = parent->ptr[j + 1];
}
parent->ptr[parent->keynum] = NULL;
parent->keynum--;
//还要检查父节点是不是违反了规则
//如果父节点是根节点
if (tree == parent)
{
//当根节点没有关键字的时候 才进行调整
if (parent->keynum == 0)
{
for (int j = 0; j <= parent->keynum + 1; j++)
{
if (parent->ptr[j] != NULL)
{
tree = parent->ptr[j];
break;
}
tree->parent = NULL;
}
}
}
else
{
//如果不是根节点 就判断是否需要重新进行调整
if (parent->keynum < (m - 1) / 2)
{
restore(tree, parent);
}
}
}后记
至此,第一棵高阶搜索树B树就结束了,其实理顺了逻辑会发现并不难,只是需要考虑的情况很多很复杂,但是慢慢啃一定能学会的!因为提到过B树是要与磁盘做交互才能体现出其优越性,而本文的重点在于讲清B树增删查改的逻辑,所以就没有main函数的测试了,作为初学者的我们只需要能够理解理顺它的思想、逻辑和代码就足够了;
我自认为每一句代码都有过详细的注释了,但是一定一定一定要理顺逻辑再去看代码(重要的事情说N遍)如果对于代码还有疑问的欢迎与我联系!
边栏推荐
- Shell function, system function, basename [string / pathname] [suffix] can be understood as taking the file name in the path, dirname file absolute path, and user-defined function
- Build etcd distributed storage system +web management interface from scratch
- ST表、带权并查集
- Can the training software test be employed
- Use Baidu PaddlePaddle easydl to complete garbage classification
- Software testing - development test content specification (project test template)
- Bean注入和生命周期
- St table, weighted and search set
- South Korea plans to spend 1 trillion won a year on research and development of semiconductor materials and equipment
- Swiftui 4's new function of real-time access to click location.Ontapgeture {location in} (tutorial with source code)
猜你喜欢

Basic configuration and aggregation of BGP

Do employees have to compensate the company for losses when they resign? The 34 year old captain resigned and was claimed 10.66 million yuan by the company

Centos7 about Oracle RAC 11gr2 deployment disk partition

Use Baidu PaddlePaddle easydl to complete garbage classification

实验6 BGP联邦综合实验

Quick start to connection pooling

BGP routing black hole and anti ring

Software testing - development test content specification (project test template)

YGG cooperates with my pet hooligan, AMGI's flagship NFT project, to enter the rabbit hole

Game partner topic: breederdao and ultiverse have established a new metauniverse
随机推荐
BGP routing black hole and anti ring
Gartner released the latest market guide for Chinese AI start-ups, and Hongji cyclone was once again rated as a representative enterprise
Keepalived high availability introduction and configuration details
New features of ES6
查询字段较多时可以添加普通查询和高级查询两种情况
How to upload and download files
Bean注入和生命周期
Centos7 about Oracle RAC 11gr2 deployment disk partition
The sandbox cooperates with artist Alec monopoly
BGP--边界网关协议
BUU刷题记4
[record of question brushing] 22. bracket generation
Depthwiseseparableconvolution: depthwise convolution and pointwise convolution
What functions does the medical live broadcast platform need
从零开始搭建Prometheus自动监控报警系统
leetcode 链表类
The lawyer team of the US Department of justice asked the judge to refuse to accept Huawei's lawsuit
全球最聪明50家公司公布:中国厂商占据近半,华为名列第一
李彦宏遭“泼冷水”热情不减!百度结盟华为麒麟,发布“鸿鹄”芯片
twenty million two hundred and twenty thousand seven hundred and twenty-six