当前位置:网站首页>Vg4131sxxxn0s1 wireless module hardware specification
Vg4131sxxxn0s1 wireless module hardware specification
2022-06-29 03:37:00 【DropLin】
VG4131SxxxN0S1 Wireless module hardware specification
Catalog
- One 、 Application instructions
- Two 、 Technical parameters
- 3、 ... and 、 Pin location diagram
- Four 、 Pin description
- 5、 ... and 、 Hardware connection diagram
- 6、 ... and 、 Antenna matching
- 7、 ... and 、 Reflow soldering curve
- 8、 ... and 、 Electrostatic damage warning
- Nine 、 Package information
- Ten 、 Version update instructions
- 11、 ... and 、 Procurement type selection table
- Twelve 、 Statement
- 13、 ... and 、 Contact us
One 、 Application instructions
VG4131SxxxN0S1 Series wireless module , be based on PANCHIP Of PAN3020 High performance wireless transceiver chip design , It's a small size 、 low power consumption 、 Long distance bidirectional wireless transceiver module .PAN3020 It's a work in 1GHz The following multiple frequency bands , Such as 433MHz / 490MHz / 868MHz / 915MHz( Later called 433 Frequency band 、490 Frequency band 、868 Frequency band and 915 Frequency band ) Universal ISM Band single-chip wireless transceiver chip .PAN3020 Chip integrated RF transceiver 、 Frequency synthesizer 、 Crystal oscillator 、 Modem and other functional modules , It also supports one to many networking and band ACK Communication mode of .PAN3020 use GFSK modulation , Transmit output power 、 Working channel and communication data rate can be configured .
The module integrates all RF related functions and devices , Users do not need to have a deep understanding of RF circuit design , You can use this module to easily develop stable performance 、 High reliability wireless solutions and wireless Internet of things devices .
application :
1. Logistics tracking 、 Warehouse inspection 、 Electronic labels, etc
2. replace 232、485 Wireless data communication
3. Wireless data acquisition and control of industrial instruments
4. AMR( water 、 electric 、 Gas ) Three meter reading
5. Buildings and dwellings ( Smart home ) control
6. Wireless remote control for consumer electronics products
7. Wireless alarm and safety system
8. Wireless sensor networks
Two 、 Technical parameters
| Technical indicators | Parameters | remarks |
|---|---|---|
| Voltage range | 2.2~3.6V | General application 3.0V/3.3V |
| frequency range | 433MHz、490MHz、868MHz、915MHz | The applicable frequency band is determined by the hardware |
| Output power | 1 ~ 20dBm | |
| Wireless rate | 40kbps ~ [email protected] Programmable configuration | |
| Modulation mode | GFSK | |
| Reception sensitivity | [email protected], GFSK | |
| Receive bandwidth | 80kHz ~ [email protected] Programmable configuration | |
| Emission current | 85mA Transmitting power = 20dBm | |
| Receiving current | 18.5mA | |
| Dormancy current | <2uA | |
| Driver interface | SPI standard 4 Line SPI,SPI The clock :<=8MHz CPOL = 0,CPHA = 0 | |
| Antenna impedance | 50 ohm | |
| Antenna connection mode | Side stamp hole | |
| working temperature | -40℃ ~ 85℃ | |
| Size | 11.5 x 10.0mm |
3、 ... and 、 Pin location diagram

Four 、 Pin description
| Serial number | Pin | type | describe |
|---|---|---|---|
| 1 | GND | Power Supply | Power Supply - Negative pole |
| 2 | VCC | Power Supply | Power Supply - Positive pole |
| 3 | IRQ | O | NIRQ Interrupt output signal , Output low level when interrupt is generated |
| 4 | SCK | I | SPI Interface SCLK Clock input |
| 5 | MISO | I/O | SPI Interface MISO Data output |
| 6 | MOSI | I/O | SPI Interface MOSI data input |
| 7 | NSS | I/O | SPI Interface CSN Select input |
| 8 | ANT | I/O | RF Signal input / Output , Pick up 50Ω The antenna |
| 9 | GND | Power Supply | Power Supply - Negative pole |
| 10 | M1 | - | reserve |
| 11 | CE | I | Mode chip selection signal . |
| 12 | M2 | - | reserve |
| 13 | M3 | - | reserve |
| 14 | GND | Power Supply | Power Supply - Negative pole |
5、 ... and 、 Hardware connection diagram

6、 ... and 、 Antenna matching
The antenna is very important to the transmission distance of the RF module . in application , For the convenience of users' later antenna matching and adjustment . It is recommended that the user design the schematic diagram in the antenna and module ANT foot A simple... Is reserved between outputs π Type matching circuit . If the antenna is already standard 50Ω, components and parts L1 stick 0R resistance , device C1,C2 No welding required , Otherwise, it is necessary to use the network analyzer to measure the actual impedance of the antenna and match it to determine C1,L1,C2 The value of . modular ANT foot The route to the antenna end shall be as short as possible , It is recommended that the wiring width be at least 0.5MM, Length not exceeding 30MM.
7、 ... and 、 Reflow soldering curve

8、 ... and 、 Electrostatic damage warning
The RF module is High voltage electrostatic sensitive device , To prevent static electricity from damaging the module
- Strictly follow anti-static measures , Do not touch the module with bare hands during production .
- The module should be placed in an area that can prevent static electricity .
- The antistatic protection circuit at the high voltage input should be considered in the product design .

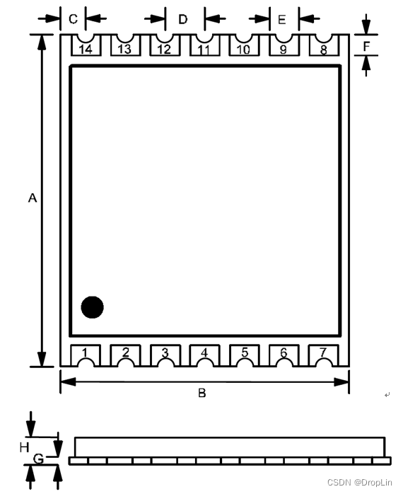
Nine 、 Package information
9.1 Mechanical Dimensions (unit:mm)

| Number | Size (mm) |
|---|---|
| A | 11.5 |
| B | 10 |
| C | 0.88 |
| D | 1.37 |
| E | 1.0 |
| F | 0.65 |
| G | 0.8 |
| H | 2.2 |
Tolerence:±0.1mm
Ten 、 Version update instructions
11、 ... and 、 Procurement type selection table
Twelve 、 Statement
- Due to product version upgrade or other reasons , The contents of this document will be updated from time to time . Unless otherwise agreed , This document is for guidance only , All statements in this article 、 The information and advice do not constitute any express or implied warranty .
- The company reserves the right of final interpretation and modification of all materials provided , Subject to change without notice .
13、 ... and 、 Contact us
company : Shenzhen wojin Technology Co., Ltd
Address : Sanhe Road, Gaofeng community, Dalang street, Longhua District, Shenzhen 1 No. cloud valley of wisdom C building 205-208
Telephone :0755-23040053
Fax :0755-21031236
Official website :www.vollgo.com
Business cooperation :[email protected]
边栏推荐
猜你喜欢

高性能限流器 Guava RateLimiter

设备监理师证书含金量怎样?值得考吗?

VIM configuration and use

Tupu software intelligent energy integrated management and control platform

嵌入式开发如何进行源代码保密工作
![[tcapulusdb] I wish you all a healthy Dragon Boat Festival!](/img/f8/d790cc38a0e1c4d6c3bd27d7158c4a.png)
[tcapulusdb] I wish you all a healthy Dragon Boat Festival!
![二叉树的锯齿形层序遍历[分层遍历方式之一 -> 前序遍历+level]](/img/f6/0df9f2a454cea0a95a5347546a90fb.png)
二叉树的锯齿形层序遍历[分层遍历方式之一 -> 前序遍历+level]

Set hardware breakpoint instruction for ejtag under the PMON of the Godson development board

【TcaplusDB知识库】TcaplusDB-tcapsvrmgr工具介绍(三)

Etcd教程 — 第六章 Etcd之核心API V3
随机推荐
[tcaplusdb knowledge base] view tcapdir directory server
一个注解优雅的实现 接口数据脱敏
Preliminary construction of SSM project environment
【TcaplusDB知识库】TcaplusDB-tcapsvrmgr工具介绍(一)
不同的二叉搜索树[自下而上回溯生成树+记忆搜索--空间换时间]
2D human posture estimation deeppose
[data update] NPU development data based on 3568 development board is fully upgraded
Laravel, execute PHP artist migrate and report an error alter table `users`add unique `users_ email_ unique`(`email`))
Installation and deployment of sw-x framework
ssm项目环境初步搭建
【TcaplusDB知识库】TcaplusDB数据导入介绍
FortiGate firewall configuration log uploading regularly
Deeply analyzing the business logic of "chain 2+1" mode
[tcaplusdb knowledge base] Introduction to tcaplusdb tcapulogmgr tool (II)
Unable to locate program input point [email protected]
2022/02/15
Basic concepts of graph theory
设备监理师证书含金量怎样?值得考吗?
SSH login without password
Gcc compiler package