当前位置:网站首页>VI and VIM text editors
VI and VIM text editors
2022-07-26 21:36:00 【Au poplar】
Catalog
Vi and Vim
Vim It's from vi Developed a text editor . Code completion 、 The functions of compiling and error jump are very rich , Widely used in programmers .
effect
Create or modify text files
maintain linux Various configurations in the system
Vim advantage
The function is all ready
Follow linux High degree of system integration
You don't need to install it yourself
Vim Three working modes of
Command mode : start-up vi After the editor, it enters the command mode by default , In this mode, the main tasks are cursor movement 、 String search , And delete 、 Copy 、 Paste file content and other related operations ;
The input mode : The main operation in this mode is to input the file content , The text file body can be modified 、 Or add something new . In input mode ,vi The last line of the editor will appear “–INSERT–” Status prompt message for ;
Last row mode : In this mode... Can be set vi Edit environment 、 Save the file 、 Exit editor , And searching for the contents of the file 、 Replacement, etc . In last line mode ,vi A colon appears on the last line of the editor “:” Prompt .
Switching between three modes

Command mode
Move the cursor , Move up, down, left and right
1. Jump in one line : Start directly to the end end $ End directly to the beginning ^ 0
Multi line jump : The last line GG first line gg 10 10G #G
2. Copy entire line :yy Copy many lines : Row number +yy Copy a word :yw
3. Paste p Paste to the next line where the cursor is located Big P The previous line where the cursor is located
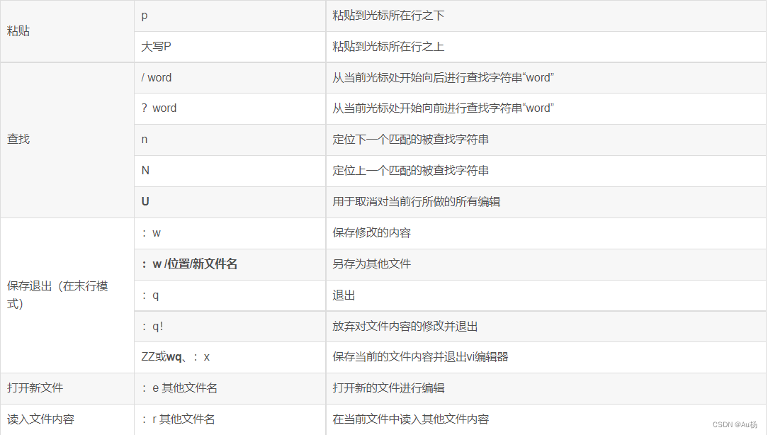
Operation table ( attach )


边栏推荐
- Summary of common interview questions of operating system, including answers
- 平滑滚动到元素
- Modify excel default code
- About: get the domain controller of the current client login
- 小米1亿像素摄像头揭秘:1/1.3英寸COMS传感器、分辨率12032×9024
- 【HCIA安全】用户认证
- 谈谈 TCP 的 TIME_WAIT
- Serial port communication failure
- Retrieve the parameters in this method in idea for our use -- 1. Class diagram. 2. Double click shift
- How to enter the specified user method body when debugging in idea?
猜你喜欢

七、微信小程序运行报错:Error: AppID 不合法,invalid appid

MySQL的JDBC操作及入门案例

Retrieve the parameters in this method in idea for our use -- 1. Class diagram. 2. Double click shift
![[HCIA security] NAT network address translation](/img/10/3b4d011963e00229d73a7435ce8c4b.png)
[HCIA security] NAT network address translation

一种用于实体关系抽取的统一标签空间

记一次invalid bound statement xxxxxx 问题解决思路

Browser browser cache

7、 Wechat applet running error: error: illegal appid, invalid appid

Remember the idea of solving the problem of invalid bound statement xxxxx once

成功上岸了自动化测试岗,最高月薪15.4K,自己真棒~
随机推荐
CFdiv1+2-Pathwalks-(树状数组+线性dp)
任正非再谈美国打压:活下去就是胜利,要战胜美国
工业基础类IFC—提取模型结构树
JS click the picture to print the image
Six instructions of Memcache based caching mechanism
在上传之前预览图像
1-《PyTorch深度学习实践》-线性模型
Summary of common interview questions of computer composition principle, including answers
虾皮shopee根据关键词取商品列表 API
Selenium自动化测试面试题全家桶
encodeURI VS encodeURIComponent
[hcie security] dual computer hot standby - primary and standby backup
Get the direction of text selection
Difference between redis hash and string
一种用于实体关系抽取的统一标签空间
【音视频】ijkplayer播放器参数说明文档
美国再次发难:禁止承包商采购这5家中国公司的设备与技术
织梦提示DedeCMS Error:Tag disabled:php!
25张炫酷交互图表,一文入门Plotly
【Flutter -- GetX】弹框 - Dialog、Snackbar、BottomSheet